МССворк
Почта
О себе
Примеры
Отзывы
Контакты
Оплата
О себе
Примеры
Отзывы
Контакты
Оплата
Почта
Примеры выполненных работ
Контрольная работа: Метрология, стандартизация и сертификация
Раздел
Метрология, стандартизация и сертификация
Курсовая работа по дисциплине «Взаимозаменяемость и технические измерения»
Раздел
Взаимозаменяемость и нормирование точности
Контрольная работа по дисциплине «Основы метрологии, стандартизации и сертификации»
Раздел
Метрология, стандартизация и сертификация
Расчет размерных цепей
Раздел
Взаимозаменяемость и нормирование точности
Курсовая работа по дисциплине «Метрология, стандартизация и сертификация»
Раздел
Метрология, стандартизация и сертификация
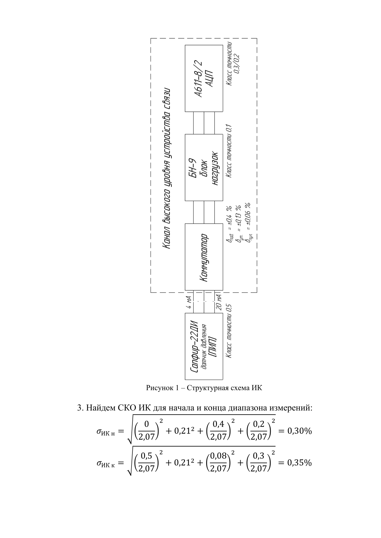
Определение метрологических характеристик измерительного канала
Раздел
Информационно-измерительные системы
Разработка проекта частной методики выполнения измерений детали
Раздел
Метрологическое обеспечение
Применение статистических методов при проведении контроля качества на предприятиях стройиндустрии
Раздел
Контроль качества
Нормирование точности и контроль деталей сборочной единицы
Раздел
Взаимозаменяемость и нормирование точности
Предметы
Взаимозаменяемость и нормирование точности
(3)
Информационно-измерительные системы
(1)
Контроль качества
(1)
Метрологическое обеспечение
(1)
Метрология, стандартизация и сертификация
(3)